Мы угадали ваш город?
Да, верно Нет, другой
0
8-800-333-85-37
Бесплатно по России
Заказать звонок

Автоматика для котла Энтророс Энтроматик 122


Производитель:
Товар «под заказ»
Розничная цена:
По запросу
Добавить к сравнению
+ В КОРЗИНУ КУПИТЬ В 1 КЛИК
Доставка по городу
Гарантия производителя
Описание
Документация

Система автоматики для газового котла отопления и теплоснабжения Энтроматик 122


Группа компаний НПК «Завод модульного энергооборудования» предлагает купить автоматику для газовых котлов отопления Энтророс серии Энтроматик 122 - надежная технология российского производства. Есть в наличии на складе в Краснодаре и Краснодарском крае!
Так же, наши инженеры осуществляют проектирование и монтаж систем автоматики котельной на котлах Энтророс для Вашего объекта.

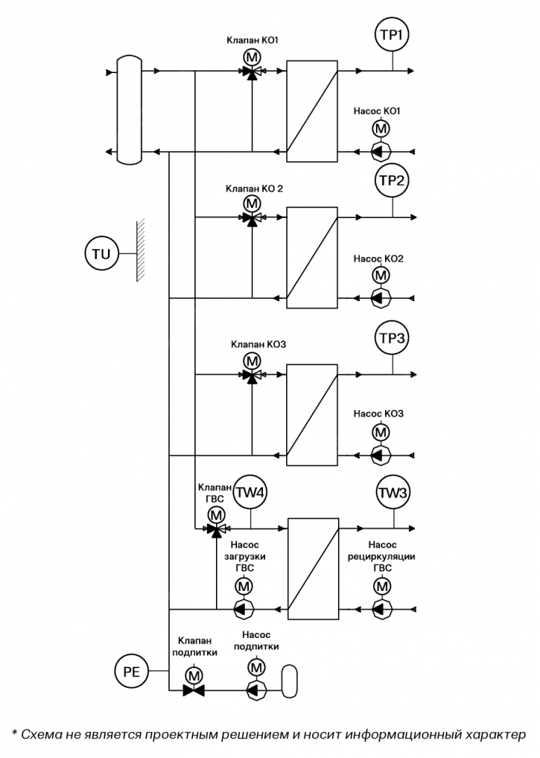
Система автоматики для газового котла отопления ЭНТРОМАТИК 122 является расширенной версией ЭНТРОМАТИК 121, используется для управления контурами отопления и ГВС (до 5 контуров, устанавливаемых при наладке системы автоматики). Автоматика для газового котла ЭНТРОМАТИК 122 обеспечивает погодозависимую корректировку температуры отопительных контуров.

Допускается самостоятельное применение или работа в составе комплекса, спроектированного на базе системы автоматики для котла отопления ЭНТРОМАТИК 120MS. В системах автоматики на базе ЭНТРОМАТИК 120.02MS - не используется.



Вы получите бесплатную консультацию, позвонив нам по телефону:
8-800-333-85-37

Или оставив заявку на звонок

ЗАКАЗАТЬ ЗВОНОК


Описание

Система автоматики для газового котла отопления ЭНТРОМАТИК 122 выполнена как программно-аппаратный комплекс, построенный на программируемом логическом контроллере (ПЛК), с процессорным модулем S7-1214.

В контроллер установлено прикладное программное обеспечение (ПО) ООО «ЭНТРОРОС», выполняющее сбор и обработку данных, заведённых в ПЛК; по этим данным формируются алгоритмы управления контурами отопления (КО).

Работа ПО основана на принципе: при наступлении событий, влияющих на состояние технологического процесса, система вырабатывает соответствующее управляющее воздействие.

Основные функции автоматики котла

Таким образом, основными функциями автоматики для газового котла отопления ЭНТРОМАТИК 122 являются:

  • управление 5 КО или 4 КО и 1 контуром ГВС;
  • контроль и управление исполнительными механизмами;
  • визуализация технологического процесса с помощью устройств ввода/ вывода информации;
  • обработка, систематизация и ведение журнала технологической информации.

Для реализации этих задач в блоке автоматики для котла отопления применяются:

  • управление клапаном по алгоритмам управления, с параметрами, заданными оператором;
  • управление насосами в соответствии с заданным алгоритмом;
  • визуализация и отображение процессов регулирования с выводом параметров на панель оператора и на уровень диспетчерского управления.

Технические характеристики автоматики Энтроматик 122

Функционал

До 5 КО, погодозависимое регулирование

Индикация/визуализация

HMI панель 4 дюйма

Применение

Индивидуально, или в составе ЭМ120MS

Диспетчеризация

Modbus TCP

Габариты

500x600x200

Декларация о соответствии системы автоматики котлов ЭнтроматикСкачать документ
Руководство по монтажу и эксплуатации системы автоматики котла Энтроматик 122Скачать документ

Задать вопрос


Выберите ваш город
×
 Краснодар
Продолжая использовать наш сайт, вы соглашаетесь с условиями обработки cookie-файлов и пользовательских данных с помощью Яндекс.Метрика, необходимых для аналитики и улучшения качества работы сайта и сервиса. Запретить эти действия можно в настройках браузера